Since the iPhone 5s to the second generation of the iPhone SE this year, Touch ID has made a comeback after seven years with the new coronavirus epidemic.
Flagship iPhones in recent years have used Face ID instead of Touch ID for biometric identification in the interest of phone unity.
But now, people wearing masks miss that round Touch ID module as much as they miss the wonder of it when it came out.
Apple realizes this, and they haven't given up on the idea of using Touch ID again within their high-end products.
According to current rumors, Apple is continuing to work on an optical under-screen fingerprint, and if things go well, it will be implemented in later iPhone releases.
Recently, the US Patent and Trademark Office has issued two new patent applications for under-screen Touch ID.
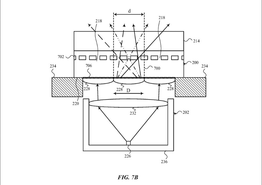
The first, "Optical Transmission, Reception and Sensing via Micro-optics," details an optical sensor on the underside of the screen and states that the technology "can capture 2D or 3D image information of an object or user," such as fingerprint information.
With this optical sensor, light can be transmitted from the bottom of the screen to the top of the screen.
The technology has long been a part of the equation, and a large number of Android devices are already using it. However, Apple's standards are always strict, and the technology will certainly undergo extensive testing before it is installed.
Another patent is for an "optical fingerprint detection system". To address the effect of temperature on an OLED screen, this patent provides temperature compensation for the optical fingerprint module to ensure that the under-screen display is not damaged. Fingerprint recognition rate.
There have been a number of media reports about the news of carrying an under-screen fingerprint. In April, there were rumors in the supply chain that Apple would choose to work with partners to develop an under-screen fingerprint module.
Bloomberg's Mark Gurman also said Apple was working on the technology. tianfeng International analyst Ming-Chi Kuo, on the other hand, said Apple would be 2021 release of phones with under-screen fingerprints.
In addition to optical fingerprint recognition, Apple is also working on acoustic-based fingerprint recognition, as Samsung has done with the Galaxy S10 The series debuts ultrasonic under-screen fingerprint technology.
It's unlikely that Apple will be able to keep selling consumers lower screen-to-body ratio devices like the new iPhone SE in the future. As an effective and inexpensive way to increase the screen-to-body ratio of a device, we may soon see a product with underscreen Touch ID's iPhone product now.

