
Apple has obtained a patent on a foldable device. This patent is designed to be used to avoid the problem of folds and cracks of foldable devices over time.
In recent years, foldable devices have been continuously commercialized, and more and more foldable devices have been put on the market.
However, the problem of folds and cracks encountered by folding screens with high probability has not been solved, and it continues to plague many consumers.
Apple hopes that while maintaining the expandability of foldable devices, it will find another way to solve this technical problem that currently plagues many manufacturers and consumers.
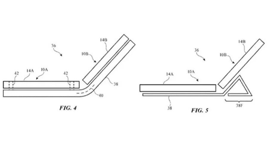
Apple's patent registration this time is mainly through magnetic sensors, multiple independent screen devices close to each other to form a screen. When individual displays are placed together consecutively, they are automatically detected and then combined into a larger display between them.
This design concept is a bit close to LG G8 ThinQ and Microsoft Surface Duo. Rather than using a more flexible flexible folding screen, it is more inclined to combine multiple displays to enable it to form a single flexible device.
Foldable devices are a popular trend nowadays. From last year's Samsung Galaxy Fold and Huawei Mate X to this year's Motorola Razr and Samsung Galaxy Z Flip, more and more foldable devices appeared in the mobile market.
Microsoft's Surface Duo has been announced for a long time, and screen manufacturers such as TCL are constantly promoting their new concepts. In addition to horizontal and vertical folds, triple-folding screens and roller screens are also being launched.
At this time, Apple registered patents related to foldable devices, and naturally wanted to get a share of the market.
Although there is no rumor about whether Apple is producing foldable phones, Apple clearly has such plans.