
Apple's latest patent shows that the touchpad and keyboard are expected to be integrated in the future, thereby reducing space consumption.
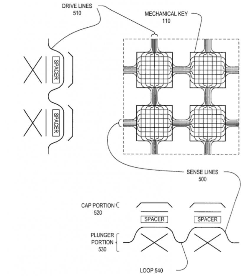
The patent is called a "touch-sensitive mechanical keyboard", and the top of each keycap recognizes finger movements and acts as a touchpad to move the cursor.
Apple's patent document first counts the disadvantages of the keyboards currently in use.

The document states:
Over the last forty years there have been numerous attempts made to introduce an alternative to the standard keyboard.
The changes include, but are not limited to, non-QWERTY layouts, concave and convex surfaces, capacitive keys, split designs, membrane keys, etc.
However, although such alternative keyboards may provide improved usability or ergonomics, they have failed to replace or duplicate the commercial success of the conventional mechanical keyboard.
According to the patent description, the user controls the movement of the cursor by sliding a finger on the keyboard surface, just like a touchpad. These touch-enabled keys provide the same functions as the touchpad, allowing users to perform pointing operations, select menu items, and perform zoom and scroll operations on the screen, all without leaving the keyboard.
Each key position will have 2 levels of travel, with different keystrokes, users can achieve different operations. For example, tap the button to complete the first stroke, the system will recognize this as a character input, and clicking with more force will be regarded as a "one mouse click" operation.
In addition, users can complete click and swipe operations at the same time. In this way, when the left hand is clicking on the left key position of the keyboard, the right hand can move the cursor by swiping the right key position.