Huawei Technologies Co., Ltd. filed a patent on December 25 last year entitled "Motor components, camera modules and electronic devices to drive liquid lenses", which was published on 7 April 2020.
The patent claims that the present application provides a motor assembly, camera module, and electronic device for driving a liquid lens.
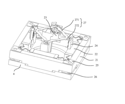
The motor assembly includes a stator portion:
The actuator portion, which is movable in the direction of the optical axis relative to the stator portion.
Connecting the shrapnel to the liquid lens and the kinetic part of the liquid lens, which is compressed or pulled by the force acting on the connecting shrapnel in the direction of the optical axis.
A limiting module, which moves with the actuator part and has the same displacement as the actuator part, for limiting the range of height change of the connecting shrapnel in the direction of the optical axis.
These technical solutions can be used to drive motors with liquid lenses to meet performance requirements such as autofocus and/or optical anti-shake while increasing motor reliability under abnormal operating conditions such as bumps and drops.
It's unclear what the liquid lens mentioned in Huawei's patent is, but from the images given in the patent, it should work for smartphones.
Of course, as a patent, there is no guarantee that it will be commercialized.

